储能头条获悉,12月12日,国网新能源云公示四川省机制电价竞价结果。
2026年按光伏竞价项目竞价出清结果:机制电量规模4140000.000兆瓦时,机制电价水平372.997元/兆瓦时,项目13980个。
2026年按风电竞价项目竞价出清结果:机制电量规模880000.000兆瓦时,机制电价水平393.000元/兆瓦时,项目16个。

11月6日,四川省发展和改革委员会 四川省能源局发布《关于2025-2026年度增量新能源项目机制电量电价竞价等有关事项的通知》。
内容指出,本次竞价主体范围为2025年6月1日-2026年12月31日投产的风电、光伏项目(含集中式风电、光伏,分布式光伏,分散式风电),组织一批次竞价。按风电、光伏2类分别组织竟价、出清。
机制电量竞价规模。风电项目机制电量竞价规模为8.8亿千瓦时,光伏项目机制电量竞价规模为41.4亿千瓦时。
项目申报电量上限。单个新能源项目申报机制电量规模不高于其发电能力的80%。
竟价上下限。竞价上限为0.4012元/千瓦时,竞价下限为0.2 元/千瓦时。
执行期限。机制电价执行期限为12年。
截至目前,已有22省市公示机制电价竞价结果:

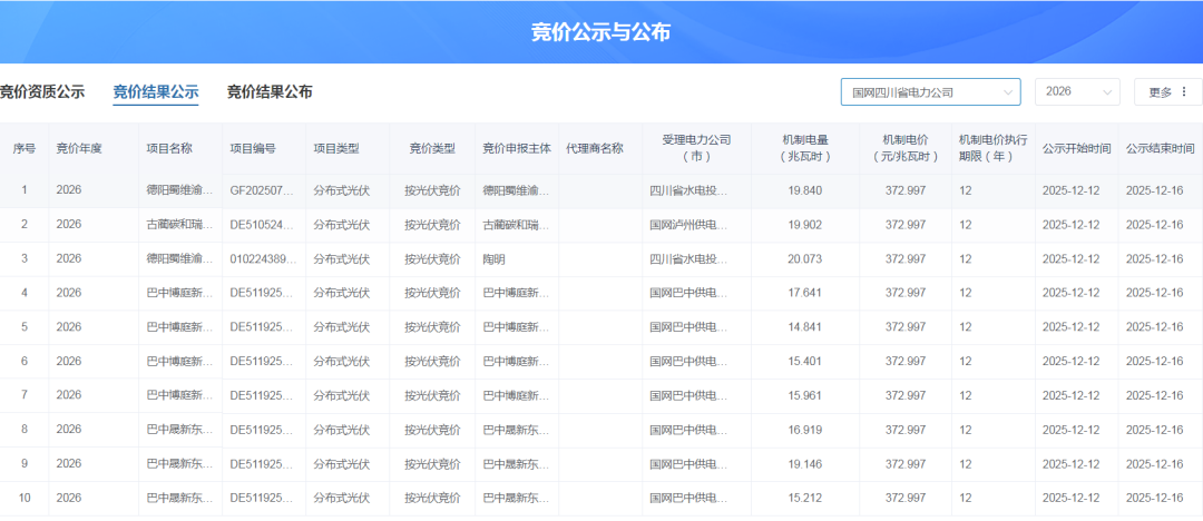
部分项目清单如下:


(更多项目请前往新能源云查看)
来源:新能源云
切换行业



正在加载...



